Polarizzatori: i "guardiani ottici" degli schermi LCD

2025-08-18 - Lasciami un messaggio

Quando ammiri le immagini vibranti su uno schermo LCD, una pellicola sottile apparentemente ordinaria svolge un ruolo fondamentale, ma spesso invisibile: il polarizzatore. Questo sofisticato componente ottico agisce come un preciso "guardiano", controllando meticolosamente l'ingresso e l'uscita della luce, rendendolo indispensabile per la tecnologia dei display a cristalli liquidi (LCD).


Il cancello luminoso bidirezionale

Gli LCD si affidano a unità di retroilluminazione per l'illuminazione. La funzione principale del polarizzatore è duplice:

Filtraggio ingresso (polarizzatore inferiore): converte la luce naturale caotica e non polarizzata proveniente dalla retroilluminazione in luce polarizzata con una direzione di vibrazione uniforme.

Controllo uscita (polarizzatore superiore): orientato tipicamente a 90 gradi perpendicolare al polarizzatore inferiore. La luce può passare solo se le molecole di cristalli liquidi ruotano con successo la direzione di polarizzazione per corrispondere alla "condizione di passaggio" del polarizzatore superiore, creando i modelli chiaro/scuro che formano l'immagine visibile.

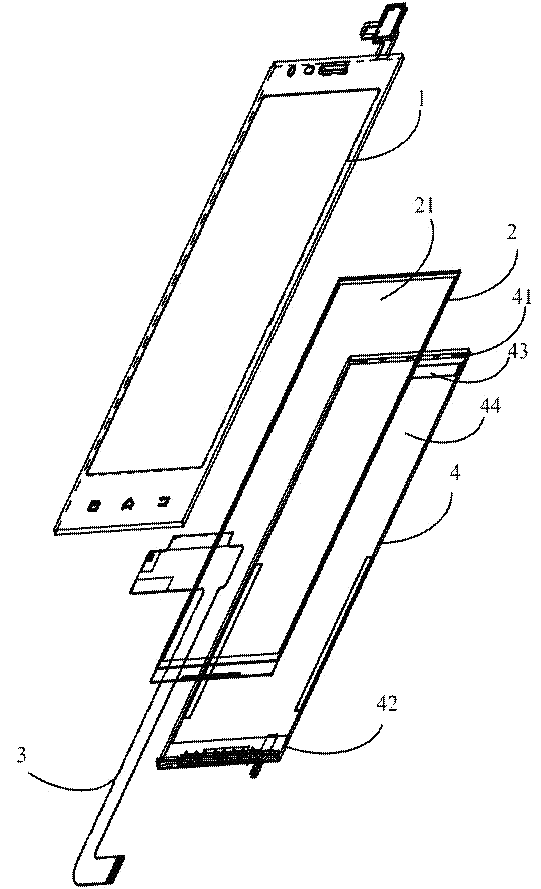
La struttura "sandwich" di precisione a cinque strati

Un polarizzatore è un composto progettato con precisione di cinque strati funzionali:

Pellicola TAC (triacetilcellulosa - strati superiore e inferiore): agisce come uno "scudo robusto" e un "compensatore ottico". Fornisce protezione fisica (resistenza ai graffi e all'umidità) e compensa la distorsione ottica grazie alla sua proprietà di basso ritardo ottico, garantendo la purezza del colore e una distorsione minima dell'immagine.

Pellicola PVA (alcol polivinilico - Strato centrale): il "generatore di luce polarizzata". Attraverso lo stiramento e la tintura (iodio o dicroico), le sue catene molecolari si allineano, mostrando un forte dicroismo: assorbendo le onde luminose di una direzione di vibrazione mentre trasmettono quelle perpendicolari ad essa, generando in modo efficiente luce polarizzata. Le sue prestazioni definiscono l'efficienza del polarizzatore (grado di polarizzazione) e la trasmittanza.

Adesivo sensibile alla pressione (PSA): l'"agente adesivo invisibile". Lamina in modo sicuro e uniforme il gruppo polarizzatore sul substrato della cella di vetro a cristalli liquidi. Richiede elevata trasparenza, stabilità a lungo termine, resistenza agli agenti atmosferici, non corrosività e formazione minima di bolle/difetti.

Film di rilascio: il "protettore del trasporto". Protegge lo strato PSA dalla contaminazione e dall'adesione accidentale durante la produzione, la spedizione e lo stoccaggio. Viene staccato e scartato subito prima del processo di laminazione nella fabbrica dei pannelli.

Evoluzione continua per le esigenze future

La ricerca di una qualità dell'immagine più elevata (4K/8K, HDR), angoli di visione più ampi, profili più sottili e flessibilità guida l'innovazione continua nella tecnologia dei polarizzatori:

Profili più sottili: adozione di TAC più sottili o di materiali alternativi come COP (polimero cicloolefinico) o film PET.

Prestazioni migliorate: ottimizzazione dell'elaborazione PVA per aumentare la trasmittanza e il rapporto di contrasto.

Angoli di visione più ampi: integrazione di pellicole di compensazione ottica per mitigare le limitazioni intrinseche dell'angolo di visione dell'LCD.

Flessibilità: sviluppo di polarizzatori flessibili compatibili con display pieghevoli e OLED flessibili.


A proposito di CNK

Fondata a Shenzhen nel 2010, CNK Electronics (CNK in breve) ha ampliato la fabbrica leader a livello mondiale a Longyan, Fujian nel 2019. È un'impresa specializzata e innovativa specializzata nella progettazione, sviluppo, produzione e vendita di prodotti di visualizzazione. CNK offre ai clienti una gamma completa di moduli display, soluzioni e servizi convenienti di piccole e medie dimensioni con una qualità eccellente in tutto il mondo. Orientata alla tecnologia e all'alta qualità, CNK mantiene lo sviluppo sostenibile, lavora per offrire ai clienti servizi migliori e stabili.


Invia richiesta

X
Utilizziamo i cookie per offrirti una migliore esperienza di navigazione, analizzare il traffico del sito e personalizzare i contenuti. Utilizzando questo sito, accetti il ​​nostro utilizzo dei cookie. politica sulla riservatezza
Rifiutare Accettare